瑞萨RA MCU(Renesas RA Microcontroller Unit)是一种高性能且多功能的微控制器单元,由瑞萨电子公司推出。它是基于ARM Cortex-M内核的先进微控制器系列,专为满足广泛的嵌入式应用需求而设计。
RA MCU系列提供了广泛的产品线和内核选项,以满足不同级别、成本和性能要求。这些微控制器单元集成了丰富的外设和功能模块,包括模拟转换器、数字输入输出(GPIO)端口、通信接口(如UART、SPI、I2C)以及定时器等。这使得RA MCU具备了出色的通信能力、数据处理和控制性能,适用于各种行业和应用领域。
除了以上通信接口,RA中多款MCU还配备了CAN或者CANFD模块。RA MCU中的CAN(Controller Area Network)和CANFD(Controller Area Network with Flexible Data Rate)模块是用于实现高性能数据通信的重要功能。
CAN是一种广泛应用于汽车、工业控制和物联网等领域的串行通信协议。其特点是具有高可靠性、抗干扰能力强和可扩展性好。CAN通信使用两根差分信号线(CAN_H和CAN_L),以确保可靠地传输数据。RA MCU的CAN模块支持标准CAN协议,具备多个接收和发送FIFO缓冲区,用于存储收发的CAN帧。它还提供了灵活的过滤和接收模式选择功能,能够满足不同应用的数据传输要求。
而CANFD是对传统CAN协议的扩展,能够以更高的速率传输数据和更大的数据负载。CANFD模块可以在CAN和CANFD之间进行切换,以适应不同的通信需求。与CAN相比,CANFD具有更高的数据传输速率和更大的数据帧长度,提供了更大的灵活性和性能。RA MCU的CANFD模块支持CAN2.0B和CANFD的协议规范,能够在高速、高负载的应用场景下提供可靠的数据通信。它具备更大的接收和发送FIFO缓冲区,以适应更高速率、更大负载的数据传输。同时,CANFD模块还提供了更丰富的过滤和接收模式配置选项,以满足不同应用的需求。
RA MCU中的CAN和CANFD模块通过提供灵活而高性能的数据通信功能,使开发者能够轻松构建复杂的通信系统。无论是用于车载电子、工业自动化还是物联网设备,CAN和CANFD模块都是实现可靠数据传输的理想选择。
• 第一种:CAN模块
RA2L1、RA4M1、RA4M2、RA4M3、RA4E1、RA6M1、RA6M2、RA6M3、RA6M4、RA6T1和RA6E1中搭载这一IP,符合ISO 11898-1、CAN 2.0A、CAN 2.0B协议标准。
位速率 | 数据传输率可高达1 Mbps (fCAN≥8 MHz); fCAN:CAN时钟源 |
Mailbox | 32个Mailbox,2种模式 • 普通mailbox模式:32个mailbox,可独立配置用于发送或接收 • FIFOmailbox模式:24个mailbox,可独立配置用于发送或接收,其余Mailbox接收和发送4级FIFO |
接收过滤器 | 8个独立接收Mask(每4个Mailbox有1个); 每个Mailbox可以独立启用或禁用Mask。 |
发送 | 支持数据帧和远程帧发送; 传输ID格式可选择仅标准ID、仅扩展ID或混合ID; 可编程一次性传输功能; 广播消息功能; 可根据消息ID或Mailbox号码选择优先模式; 支持发送请求中止,并在状态标志中确认中止完成; 每个Mailbox可独立启用或禁用传输完成中断; |
接收 | 支持数据帧和远程帧接收; 接收ID格式可选择仅标准ID、仅扩展ID或混合ID; 可编程一次性接收功能; 可选择覆盖模式(覆盖未读消息)和溢出模式(保存未读消息); 每个Mailbox可独立启用或禁用接收完成中断。 |
中断功能 | 支持五种中断源:接收完成、发送完成、接收FIFO、发送FIFO和错误中断 |
CAN时钟源 | PCLKB或CANMCLK |
时间戳 | 使用16位计数器的时间戳功能; 参考时钟可选择1位、2位、4位和8位时间周期。 |
错误状态监测 | CAN总线错误监测,包括填充错误、格式错误、ACK错误、15位CRC错误、位错误和ACK分隔符错误; 检测到错误状态的转换,包括错误警告、错误被动、总线关闭进入和总线关闭恢复; 支持读取错误计数器。 |
系统框图如下:

• 第二种:CANFD模块
RA6M5中搭载这一IP,符合CAN-FD ISO 11898-1 (2015) 协议标准。
位速率 | 仲裁阶段高达1 Mbps,数据阶段高达8 Mbps,每个CAN通道单独传输; |
CAN通道数 | 2通道 |
工作时钟 外设时钟/APB时钟 | 50MHz(PCLKB); RAM时钟:100 MHz (PCLKA) |
数据链路层 (DLL) 时钟 | 最大值≤40 MHz |
可选ID类型 | 型11位标准ID; 11位标准ID+18位扩展ID |
可选帧类型 | 数据帧 (RTR = 0)(CAN和CAN-FD帧); 远程帧 (RTR = 1)(仅限CAN帧) |
网关功能 | CAN 2.0 ↔ CAN 2.0 CAN 2.0 ↔ CAN-FD网关(仅支持8字节有效载荷) CAN-FD ↔ CAN-FD |
消息缓冲区 | 最多16×2个接收消息缓冲区,在所有CAN通道之间共享; 每个通道16个发送消息缓冲区; 每个通道4个发送队列; 支持自动消息传输到传输队列 |
FIFO数量 | 8个接收FIFO缓冲区 多达3×2个FIFO可单独配置为: • 接收FIFO • 发送FIFO • CAN ↔ CAN网关FIFO |
增强的接收过滤 | 支持11位和29位CAN标识符; 每个条目的可编程29位CAN标识符接收过滤器Mask; 每个通道的可编程网关路由能力(最多8个路由目的地); RTR和IDE屏蔽; 数据长度代码 (DLC) 过滤器; 消息缓冲区负载过载保护; 有效负载过滤器。 |
中断功能 | 可配置的全局RX FIFO中断:可单独配置每个FIFO、在接收到特定深度或每收到一条消息触发中断; 通道TX中断; 全局错误:数据链路校验、邮件丢失、FD有效负载溢出; 通道错误:总线错误、警告错误、被动错误、总线断开、总线断开恢复、超载、总线锁、仲裁损失、传输中止。 |
RAM | RAM ECC保护(2位错误检测,1位错误纠正) |
掉电功能 | 每个CAN节点的模块启动停止功能(通道和全局睡眠模式) |
TrustZone Filter | 可设置一个安全属性,两个通道属性相同 |
系统框图如下:

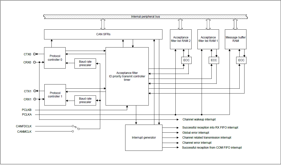
• 第三种:CANFD Lite模块
RA4E2、RA4T1、RA6T2、RA6E2和RA6T3中搭载这一IP,符合CAN-FD ISO 11898-1 (2015)。
位速率 | 仲裁阶段高达1 Mbps,数据阶段高达5 Mbps |
CAN通道数 | 1通道 |
工作时钟 外设时钟/APB时钟 | 最大值≤40 MHz |
可选ID类型 | 11位标准ID; 11位标准ID+18位扩展ID |
可选帧类型 | 数据帧 (RTR = 0)(CAN和CAN-FD 帧); 远程帧 (RTR=1)(仅限CAN帧) |
消息缓冲区 | 最多32个接收消息缓冲区; 4个发送消息缓冲区; 1个发送队列; 支持自动消息传输到传输队列。 |
FIFO数量 | 2个接收FIFO缓冲区 1个COMMON FIFO可单独配置为: • 接收FIFO • 发送FIFO |
增强的接收过滤 | 支持11位和29位CAN标识符; 每个条目的可编程29位CAN标识符接收过滤器Mask; 每个FIFO和接收消息缓冲区的可编程路由功能(最多2个路由目的地); RTR和IDE屏蔽; 数据长度代码 (DLC) 过滤器; 消息缓冲区负载过载保护; 在通信期间更新接收过滤器列表 (AFL) 条目。 |
中断功能 | 可配置的全局RX FIFO中断:可单独配置每个FIFO、在接收到特定深度或每收到一条消息触发中断; 通道TX中断; 全局错误:数据链路校验、邮件丢失、FD有效负载溢出; 通道错误:总线错误、警告错误、被动错误、总线断开、总线断开恢复、超载、总线锁、仲裁损失、传输中止 |
RAM | RAM ECC保护(2位错误检测,1位错误纠正) |
掉电功能 | CAN节点的模块启动停止功能(通道和全局睡眠模式) |
TrustZone Filter | 可设置一种安全属性 |
系统框图如下:

目前RA MCU提供以上三种CAN&CANFD IP,请根据实际需求进行选择。如果需要在CAN总线上添加CAN节点,以上三种CAN&CAN IP均可;如果需要在CAN总线上添加CANFD节点,请选择CANFD或者CANFD Lite;如果需要用到2个通道,请选择RA6M5的CANFD。在选型或者使用过程中,若遇到问题,请联系瑞萨销售或者代理。
来源:瑞萨MCU小百科
免责声明:本文为转载文章,转载此文目的在于传递更多信息,版权归原作者所有。本文所用视频、图片、文字如涉及作品版权问题,请联系小编进行处理(联系邮箱:cathy@eetrend.com)。









