跳转到主要内容

【原创深度】压电马达的驱动设计

cathy /

<font color="#FF0000">作者:Bill Schweber</font>

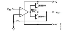
对大多数电气工程师而言,“电动机”是指电磁旋转运动单元。当需要线性运动而不是旋转运动时,工程师会考虑添加机械转换装置或者使用线性感应马达。然而,由于控制、公差、反向间隙等电气和机械问题,传统的电磁马达通常不能提供直线运动所需要的高精确(无论是转子马达、线性马达,不论是大是小)。幸运的是,目前有了一个可行的替代方案——压电马达,它广泛应用于需要精确控制的微小直线运动中。

<center><img src="http://mouser.eetrend.com/files/2017-11/wen_zhang_/100008908-29928-tt.j…; alt=“” width="600"></center>

<strong>压电马达概览</strong>

让你知道电动机工作原理,在家都能玩

editor Chen /

一根铁钉,一颗电池,一条电线,一个纽扣磁铁(建议用耳机上的电磁铁),只要你用上面这些东西,30秒就能做一个世界上最简单的电动机。

有这么几种电动机可以制作:

<center><img src="http://mouser.eetrend.com/files/2017-04/wen_zhang_/100005829-18068-1.jp…; alt=""></center>

  一根铁钉,一颗电池,一条电线,一个纽扣磁铁(建议用耳机上的电磁铁),只要你用上面这些东西,30秒就能做一个世界上最简单的电动机。先把铁钉和磁铁连起来,并把它一头吸在电池的一极上,正负都可以,只是最后旋转的方法相反而已。然后要用电线把电池和铁钉尾段的磁铁连接起来,即慢慢地用电线碰几下磁铁,铁钉就开始加速旋转。据测量只要15秒就可以使铁钉加速到1万转每分钟!(需垂直放置,建议磁铁大一点,重量抵消磁力后,可以使铁钉和电池接触点的摩擦力最小化)