作者:Bill Schweber,来源:DigiKey得捷
文章概述
在各种电源应用领域,例如工业电机驱动器、AC/DC 和 DC/DC 逆变器/转换器、电池充电器、储能系统等,人们不遗余力地追求更高效率、更小尺寸和更优性能。性能要求越来越严苛,已经超出了硅 (Si) 基 MOSFET 的能力,因而基于碳化硅 (SiC) 的新型晶体管架构应运而生。
虽然新式器件在所有关键性能指标方面都有明显的优势,但由于各种局限性和应用的不确定性,设计人员对第一代 SiC 器件持谨慎态度是明智的。第二代器件规格方面经过优化,也更多地考虑到了器件的细节。一方面 SiC MOSFET 性能不断提升,另一方面上市时间的压力加剧,设计人员开始使用这些新式器件来达成产品目标。最近出现的第三代器件表明,基于 SiC 的电源装置已经成熟。这些器件在所有关键参数方面都做了改进,同时借鉴了前几代器件的设计导入经验和相关专业知识。
由于各种深层物理学原因,SiC 有三大电气特性与纯硅明显不同,每个特性均赋予其工作优势。此外,SiC 还有其他一些更微妙的差异(图 1)。

- 更高的临界击穿电场电压(约 2.8 MV/cm,Si 为 0.3 MV/cm),因而在给定电压额定值下工作时,可以使用更薄的层,大大降低漏源导通电阻 (RDS(on))。
- 更高的导热率,因而在横截面上可以实现更高的电流密度。
- 更宽的带隙(半导体和绝缘体中价带顶部与导带底部之间的能量差,单位为 eV),使得高温下的漏电流更低。出于这个原因,SiC 二极管和场效应晶体管 (FET) 常被称为宽带隙(WBG) 器件。
凭借良好的性能属性和长足的进步,SiC 器件现在已在功率与速度的应用矩阵中占据了突出的位置,加入了 IGBT、硅基 MOSFET 和 GaN 器件的行列(图 2)。

从基础 SiC 材料科学和器件物理学到商用 SiC MOSFET,这条路很漫长且艰难(图 3)。经过大量研究和生产努力,第一款基于 SiC 的器件(肖特基二极管)于 2001 年推出。在那之后的 20 年里,业界陆续开发并发布了第一代、第二代和第三代量产 SiC MOSFET。每一代产品都在特定参数方面做了针对性的改进,同时也有一些不同的权衡。

Toshiba的第二代产品修改了 SiC 器件的基本结构,将肖特基势垒二极管 (SBD) 嵌入 MOSFET 中,在很大程度上解决了这个问题(图 4)。这使可靠性提高了一个数量级以上。在新结构中,SBD 与单元内部的 PN 二极管平行放置,从而防止 PN 二极管通电。电流流经嵌入式 SBD,因为其导通状态电压低于 PN 二极管,从而抑制了导通电阻的一些变化和 MOSFET 可靠性的降低。

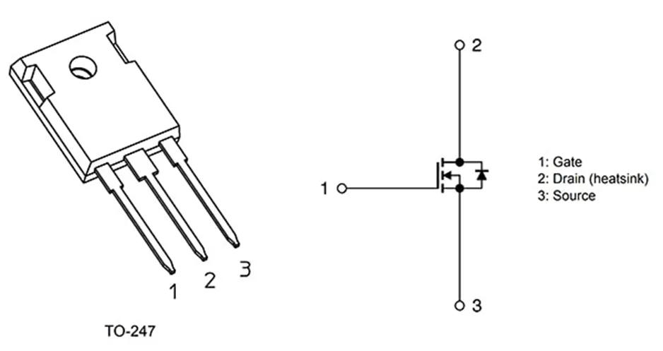
目前,该系列包括 650 V 和 1200 V SiC MOSFET,设计用于大功率工业应用,如 400 V 和 800 V AC/DC 电源、光伏 (PV) 逆变器和用于不间断电源 (UPS) 的双向 DC/DC 转换器。650 V 和1200 V SiC MOSFET 均采用行业标准的三引线 TO-247 封装(图 5)。

该系列的两端分别是 650 V 和 1200 V 器件,由此可以看出其能力之全面。所有器件的物理封装、引脚布局和原理图符号都相同(图 6),但具体细节不同。

除了显示静态和动态参数的最小值、典型值和最大值的表格外,规格书中还有显示关键参数的性能与温度、漏极电流、栅源电压 (VGS) 等因数关系的曲线图。例如,RDS(on) 值与温度、漏极电流 (ID)、栅源电压 VGS 的关系如图 7 所示。

图 8 显示了 1200 V 器件(例如20 A、107 W N 沟道器件 TW140N120C)的同一组规格和曲线图。此SiC MOSFET 具有如下特性:CISS 低至 6000 pF,栅极输入电荷 (Qg) 为 158 nC,RDS(on) 为 140 mΩ。

15 mΩ,100 A,342 W (TWO15N65C)
27 mΩ,58 A,156 W
48 mΩ,40 A,132 W
83 mΩ,30 A,111 W
107 mΩ,20 A,70 W
15 mΩ,100 A,431 W
30 mΩ,60 A,249 W
45 mΩ,40 A,182 W
60 mΩ,36 A,170 W
140 mΩ,20 A,107 W (TW140N120C)